Butée avec quittance débrochable (ISO)

- Permet
d'obtenir l'information d'acquittement de séquence sur
fin course, directement depuis la butée positive.
- Elimine les inconvénients du double
montage, donc
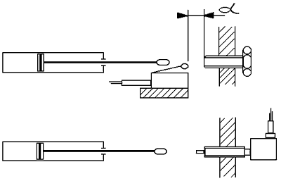
du décalage entre le signal et la butée (voir
schéma ci-dessus).
- Facilite le réglage de fin course, par
action
directe sur la butée filetée au pas de 100, avec
tête normalisée pour tout type de quittance, dont la gamme
va du diamètre 8 à 18 mm.
- Possibilité pour les butées AS.08 de
monter
un embout type AK pour poussée oblique jusqu'à 30°par
rapport à l'axe.
- Visualisation de fonctionnement par LED
rouge sur
le seul modèle JV.
- Câble de raccordement débrochable selon
norme
ISO/ DIN , facilitant la maintenance et les tests sans intervention sur
l'armoire.
- Raccordement logique de la quittance ISO
en (NPN) soit en
(PNP), selon type choisi.
- Application, la plupart
l'utilise en limitation de courses, ou en
élément de contact de positionnement de fermeture, voir
d'autre exemple etc…
- Adaptation, sur
n'importe quel type de commande, les éléments de
quittancement étant interchangeables, selon les logiques
choisies :
Type ESK version a contact sec
électrique : Pour application
moyenne cadence.
Type JSK version
analogique électronique : Pour application
cadence élevée et milieu humide.
Type
JVSK version inductive électronique : Pour application
cadence très élevée et longue durée.
Type Q-P version
logique pneumatique : Pour application zone
antidéflagrante, cadence moyenne.
- Combinaison avec amortisseur
hydraulique
progressif ou autonome, dans le cas de chocs importants.
- Produit breveté.
|
|
|
Câbles - connecteurs
Les cables sont disponibles en plusieur longueur, avec connecteur droit
ou coudé :